Middlebrook Encampment > Middlebrook Heights - Archaeological Excavation Area 2

Plan


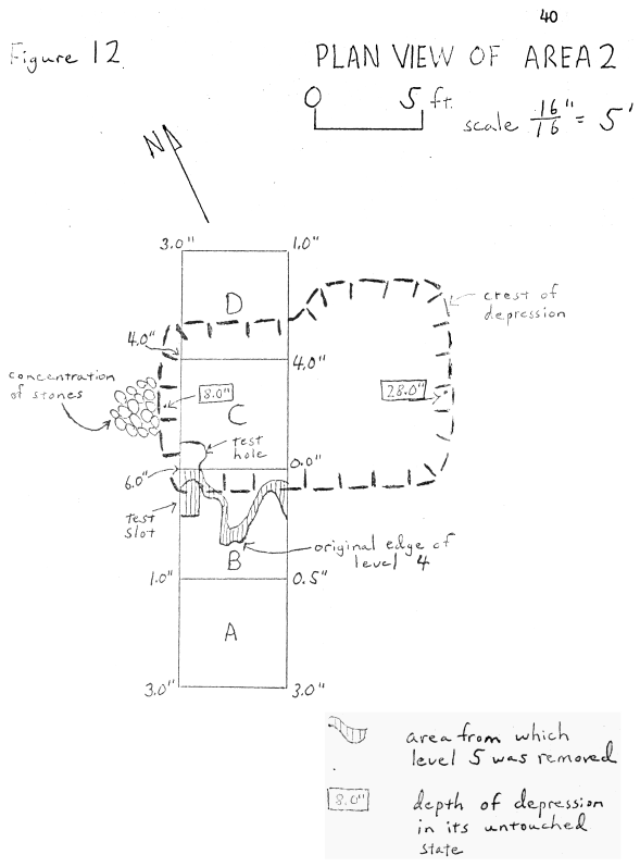
Plan View of Area 2, Figure 12, p. 40 (click on drawing to enlarge)

Profile


Partial Profile View of Area 2, Figure 13, p. 41 (click on drawing to enlarge)

From "Report on a Preliminary Archaeological Investigation of the Alleged Site of the 1777
Summer Encampment of Wayne's Brigade at Middlebrook, NJ
",
Wm. Liesenbein, Tucson AZ, 1974

Return to: Archaeological Map

last updated 10 Dec 2001